OUTLANDER 3G year 2012-2020
Twitter
Facebook
Snapchat
Instagram
Medium
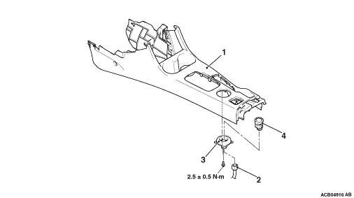
REMOVAL AND INSTALLATION
Removal steps
1.
Front floor console panel (Refer to GROUP 52A Front Floor Console Assembly
)
2.
Connector connection
3.
Bezel
4.
4WD switch
Menu
Homepage
Mitsubishi Cars
Outlander 2008
Outlander 2013
TRITON 2007
TRITON 2013
LANCER 2009
PAJERO 2009
PAJERO 2013
ASX 2013
i-MiEV 2011
Privacy Policy
About Us
Terms of Use
Contact Us
SERVICE MANUALS
TOYOTA
TOYOTA COROLLA
FORD
JEEP
Chevrolet
MAZDA CX-5
HYUNDAI
HONDA
Mercedes-Benz